Вслед за многочисленными патентами, описывающими гибкие смартфоны и планшеты, Apple подала в Патентное бюро США заявку, в которой речь идёт о ноутбуке, выполненном в цельном корпусе и лишённом традиционного шарнирного механизма.
Информация сайта - «scanpin.ru»
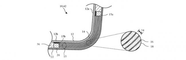
Патент с порядковым номером 10,642,318, называющийся «Планарная петля в сборе», описывает гибкое устройство, весьма похожее на MacBook Pro. В нём говорится, что ноутбук получит вид цельного устройства и вместо привычного шарнира будет иметь гибкую часть корпуса между клавиатурой и экраном. Суть изобретения состоит в том, что сгибаемая часть, имеющая «регулируемую структуру изгиба» должна быть сформирована из «стопки слоёв, способных переходить из несжатого состояния в сжатое». По большей части патент описывает способы, с помощью каких данная возможность может быть реализована на практике. Однако в нём практически не описаны преимущества изгибаемого механизма перед привычным шарниром.
Информация сайта - «scanpin.ru»
Петли, использующиеся в ноутбуках Apple, являются высококачественным и отлично протестированным механизмом, который практически не вызывает никаких нареканий у пользователей. Но как поведёт себя запатентованный изгибаемый механизм тяжело представить, хотя он может оказаться даже лучше применяемого сейчас решения.
Информация сайта - «scanpin.ru»
Помимо этого, патент описывает возможность применения в устройствах с новым механизмом гибких дисплеев, что перекликается с одним из предыдущих патентов Apple, в котором речь идёт об устройстве с двумя дисплеями, один из которых используется для ввода, а второй для отображения контента.
В любом случае, даже если Apple выпустит подобное устройство на рынок, случится это только тогда, когда механизм будет полностью протестирован и пригоден для повседневной работы.
Вслед за многочисленными патентами, описывающими гибкие смартфоны и планшеты, Apple подала в Патентное бюро США заявку, в которой речь идёт о ноутбуке, выполненном в цельном корпусе и лишённом традиционного шарнирного механизма. Информация сайта - «scanpin.ru» Патент с порядковым номером 10,642,318, называющийся «Планарная петля в сборе», описывает гибкое устройство, весьма похожее на MacBook Pro. В нём говорится, что ноутбук получит вид цельного устройства и вместо привычного шарнира будет иметь гибкую часть корпуса между клавиатурой и экраном. Суть изобретения состоит в том, что сгибаемая часть, имеющая «регулируемую структуру изгиба» должна быть сформирована из «стопки слоёв, способных переходить из несжатого состояния в сжатое». По большей части патент описывает способы, с помощью каких данная возможность может быть реализована на практике. Однако в нём практически не описаны преимущества изгибаемого механизма перед привычным шарниром. Информация сайта - «scanpin.ru» Петли, использующиеся в ноутбуках Apple, являются высококачественным и отлично протестированным механизмом, который практически не вызывает никаких нареканий у пользователей. Но как поведёт себя запатентованный изгибаемый механизм тяжело представить, хотя он может оказаться даже лучше применяемого сейчас решения. Информация сайта - «scanpin.ru» Помимо этого, патент описывает возможность применения в устройствах с новым механизмом гибких дисплеев, что перекликается с одним из предыдущих патентов Apple, в котором речь идёт об устройстве с двумя дисплеями, один из которых используется для ввода, а второй для отображения контента. В любом случае, даже если Apple выпустит подобное устройство на рынок, случится это только тогда, когда механизм будет полностью протестирован и пригоден для повседневной работы.
Интернет и связь / Новости / Преимущества стилей / Отступы и поля / Самоучитель CSS / Текст / Сайтостроение / Введение в CSS / Изображения / Списки / Вёрстка
Разработчики из независимой Moon Studios (дилогия Ori) рассказали, что продажи их фэнтезийного ролевого экшена No Rest for the Wicked перевалили за 1,7 млн копий. С...
Нашумевший экшен-хоррор Resident Evil Requiem вышел без «Наёмников» (The Mercenaries), однако, похоже, планы на возвращение популярного среди фанатов аркадного режима у...
Альтернативный клиент Telega для работы с мессенджером Telegram успел найти некоторое количество сторонников на фоне блокировки «образца для подражания» в РФ, но...
Вышедший на прошлой неделе научно-фантастический приключенческий экшен Pragmata от японского издателя и разработчика Capcom оказался хитом не только в профильной прессе,...
Разработчики из независимой Moon Studios (дилогия Ori) рассказали, что продажи их фэнтезийного ролевого экшена No Rest for the Wicked перевалили за 1,7 млн копий. С момента выхода проекта в раннем...
Комментарии (0)