Финская компания HMD Global, по сообщениям интернет-источников, изучает возможность выхода на рынок смартфонов с гибким дисплеем. Не исключено, что подобный аппарат в обозримом будущем выйдет под брендом Nokia.
Информация сайта - «scanpin.ru»
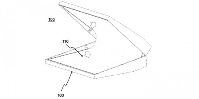
Утверждается, что HMD Global создала несколько прототипов телефонов с гибкой конструкцией для внутреннего тестирования. Однако сейчас разработка подобных устройств приостановлена.
Причина заморозки проекта — сомнения в коммерческом успехе гибких смартфонов. Дело в том, что пока такие аппараты весьма дороги; к тому же у многих потенциальных покупателей возникают сомнения в надёжности механизма складывания и долговечности собственно гибкого экрана.
В то же время отмечается, что полностью от идеи создания гибких аппаратов компания HMD Global не отказывается. Работы над подобными устройствами могут быть возобновлены в подходящее время.
По оценкам Counterpoint Research, в первом квартале текущего года HMD Global удалось реализовать только около 1,7 млн смартфонов. В годовом исчислении продажи рухнули практически в полтора раза — на 45,2 %. По сути, отгрузки сократились до уровня 2017 года, что отчасти объясняется негативным влиянием пандемии на мировой рынок смартфонов.
Финская компания HMD Global, по сообщениям интернет-источников, изучает возможность выхода на рынок смартфонов с гибким дисплеем. Не исключено, что подобный аппарат в обозримом будущем выйдет под брендом Nokia. Информация сайта - «scanpin.ru» Утверждается, что HMD Global создала несколько прототипов телефонов с гибкой конструкцией для внутреннего тестирования. Однако сейчас разработка подобных устройств приостановлена. Причина заморозки проекта — сомнения в коммерческом успехе гибких смартфонов. Дело в том, что пока такие аппараты весьма дороги; к тому же у многих потенциальных покупателей возникают сомнения в надёжности механизма складывания и долговечности собственно гибкого экрана. В то же время отмечается, что полностью от идеи создания гибких аппаратов компания HMD Global не отказывается. Работы над подобными устройствами могут быть возобновлены в подходящее время. По оценкам Counterpoint Research, в первом квартале текущего года HMD Global удалось реализовать только около 1,7 млн смартфонов. В годовом исчислении продажи рухнули практически в полтора раза — на 45,2 %. По сути, отгрузки сократились до уровня 2017 года, что отчасти объясняется негативным влиянием пандемии на мировой рынок смартфонов.
Новости / Отступы и поля / Изображения / Преимущества стилей / Самоучитель CSS / Видео уроки / Линии и рамки / Текст / Списки / Типы носителей / Вёрстка / Сайтостроение / Ссылки
Компания Intel планирует в следующем году представить обновлённую линейку настольных процессоров Arrow Lake Refresh, которая, вероятно, станет последней для сокета LGA...
Бум искусственного интеллекта позволил основателю Oracle Ларри Эллисону (Larry Ellison) в сентябре этого года на день сместить Илона Маска (Elon Musk) с поста самого...
Realme объявила о старте продаж в России 2 декабря флагманского смартфона Realme GT 8 Pro. Новинка получила камеру с 200-Мп телеобъективом, созданную в партнёрстве с...
Хотя амбициозная тактическая стратегия Heroes of Might & Magic: Olden Era готовится лишь к премьере в раннем доступе, разработчики из кипрской студии с российскими...
Компания Intel планирует в следующем году представить обновлённую линейку настольных процессоров Arrow Lake Refresh, которая, вероятно, станет последней для сокета LGA 1851 перед переходом на новую...
Комментарии (0)