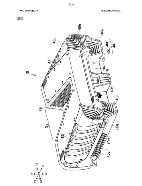
В базе данных Всемирной организации интеллектуальной собственности (WIPO) размещён патент под названием «Электронное устройство». Заявка на него была подана компанией Sony Interactive Entertainment 29 ноября 2019 года. В нём описывается и демонстрируется система охлаждения комплекта разработчика PlayStation 5.
Устройство с аналогичным внешним видом мы могли видеть на фотографиях, которые появились в Сети ещё в конце прошлого года. Схематичные изображения устройства в патенте демонстрируют уже знакомую V-образную форму.
Кроме того, в документации демонстрируется схема направления движения горячего воздуха, который отводится за пределы устройства его системой охлаждения.
Также указывается, что комплект разработчика PS5 использует «множество вентиляторов охлаждения», которые направляют воздух к радиатору охлаждения центрального вычислительного и графического процессоров. Описание гласит, что воздух сначала проходит через этот компонент, потом двигается через блок питания, а затем выводится наружу.
На одном из изображений можно увидеть целых шесть вентиляторов. И именно благодаря этому можно сделать вывод, что Sony действительно могла столкнуться с серьёзной проблемой охлаждения приставки при её разработке, как об этом ранее сообщали слухи.
Если учесть, что PlayStation 5 использует восьмиядерный процессор AMD с ядрами Zen 2, а также GPU с микроархитектурой RDNA 2, частотой выше 2 ГГц и производительность 10,28 Тфлопс, то вполне очевидна необходимость в мощной системе охлаждения консоли. Ранние слухи даже говорили о том, что серьёзные проблемы с охлаждением якобы заставили Sony пересмотреть финальный дизайн консоли.
Так ли это на самом деле — пока неизвестно. Но наличие патента комплекта разработчика PS5 подтверждает теорию о том, что для Sony вопрос охлаждения оказался одним из самых проблематичных с самого начала разработки приставки. Кроме того, он согласуется с недавними слухами о том, что PlayStation 5 в два раза толще нынешней PS4 Pro и имеет необычную особенность. Надеемся, что в последнем случае речь не идёт о системе охлаждения из шести вентиляторов.
В базе данных Всемирной организации интеллектуальной собственности (WIPO) размещён патент под названием «Электронное устройство». Заявка на него была подана компанией Sony Interactive Entertainment 29 ноября 2019 года. В нём описывается и демонстрируется система охлаждения комплекта разработчика PlayStation 5. Устройство с аналогичным внешним видом мы могли видеть на фотографиях, которые появились в Сети ещё в конце прошлого года. Схематичные изображения устройства в патенте демонстрируют уже знакомую V-образную форму. Кроме того, в документации демонстрируется схема направления движения горячего воздуха, который отводится за пределы устройства его системой охлаждения. Также указывается, что комплект разработчика PS5 использует «множество вентиляторов охлаждения», которые направляют воздух к радиатору охлаждения центрального вычислительного и графического процессоров. Описание гласит, что воздух сначала проходит через этот компонент, потом двигается через блок питания, а затем выводится наружу. На одном из изображений можно увидеть целых шесть вентиляторов. И именно благодаря этому можно сделать вывод, что Sony действительно могла столкнуться с серьёзной проблемой охлаждения приставки при её разработке, как об этом ранее сообщали слухи. Если учесть, что PlayStation 5 использует восьмиядерный процессор AMD с ядрами Zen 2, а также GPU с микроархитектурой RDNA 2, частотой выше 2 ГГц и производительность 10,28 Тфлопс, то вполне очевидна необходимость в мощной системе охлаждения консоли. Ранние слухи даже говорили о том, что серьёзные проблемы с охлаждением якобы заставили Sony пересмотреть финальный дизайн консоли. Так ли это на самом деле — пока неизвестно. Но наличие патента комплекта разработчика PS5 подтверждает теорию о том, что для Sony вопрос охлаждения оказался одним из самых проблематичных с самого начала разработки приставки. Кроме того, он согласуется с недавними слухами о том, что PlayStation 5 в два раза толще нынешней PS4 Pro и имеет необычную особенность. Надеемся, что в последнем случае речь не идёт о системе охлаждения из шести вентиляторов.
Интернет и связь / Новости / Преимущества стилей / Отступы и поля / Самоучитель CSS / Текст / Сайтостроение / Введение в CSS / Изображения / Списки / Вёрстка
Сегодня китайская компания Unitree Robotics начала продажу на AliExpress своего самого дешёвого человекоподобного робота стоимостью всего $8150 ($6800 за компактную...
Более двадцати лет назад был открыт астероид 99942 Апофис (Apophis), названный так в честь древнеегипетского бога хаоса, тьмы и огня. Он стал первым за многие годы...
Владельцы каналов связи, идущих из России в Европу, по настоянию Минцифры подписали мораторий на расширение их количества, что, по мнению ведомства, должно помочь в...
Исследование аналитической компании Newzoo показало, что пользователи ПК всё меньше времени и денег тратят на горячие игровые новинки и всё больше — на проверенные...
Сегодня китайская компания Unitree Robotics начала продажу на AliExpress своего самого дешёвого человекоподобного робота стоимостью всего $8150 ($6800 за компактную версию). Компания неуклонно...
Комментарии (0)