По неофициальной информации Apple уже некоторое время работает над прототипом складного iPhone, который должен составить конкуренцию подобным устройствам производства Samsung. Авторитетный инсайдер Джон Проссер (Jon Prosser) утверждает, что устройство получит два отдельных дисплея, соединённых шарниром, а не один гибкий дисплей, как у большинства современных смартфонов такого типа.
Информация сайта - «scanpin.ru»
Проссер утверждает, что складной iPhone будет иметь такие же скруглённые боковые грани, как и iPhone 11. Кроме того у устройства будет отсутствовать уже привычная для iPhone «чёлка», однако на внешнем дисплее будет присутствовать крошечный вырез, в котором будет умещена система распознавания лиц TrueDepth, на которую полагается Face ID.
Информация сайта - «scanpin.ru»
Несмотря на то, что устройство получит два отдельных дисплея, Проссер утверждает, что дисплеи смартфона создают впечатление единой панели. Таким образом, складной iPhone больше напоминает по конструкции такие устройства, как Microsoft Surface Neo и Surface Duo, чем Samsung Galaxy Fold, с последующими версиями которого вероятно будет конкурировать.
Информация сайта - «scanpin.ru»
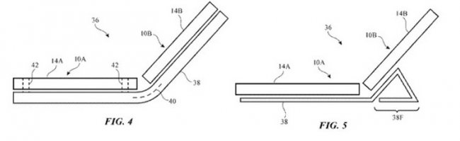
Пока неизвестно, когда Apple выпустит складной iPhone на рынок. Слухи о его разработке ходят ещё с 2016 года. В марте текущего года компания запатентовала устройство с двумя дисплеями, соединёнными шарниром, которое очень похоже на то, что описал Проссер. И хотя в последнее время подробностей об устройстве становится всё больше, вряд ли Apple представит его в ближайшем будущем.
По неофициальной информации Apple уже некоторое время работает над прототипом складного iPhone, который должен составить конкуренцию подобным устройствам производства Samsung. Авторитетный инсайдер Джон Проссер (Jon Prosser) утверждает, что устройство получит два отдельных дисплея, соединённых шарниром, а не один гибкий дисплей, как у большинства современных смартфонов такого типа. Информация сайта - «scanpin.ru» Проссер утверждает, что складной iPhone будет иметь такие же скруглённые боковые грани, как и iPhone 11. Кроме того у устройства будет отсутствовать уже привычная для iPhone «чёлка», однако на внешнем дисплее будет присутствовать крошечный вырез, в котором будет умещена система распознавания лиц TrueDepth, на которую полагается Face ID. Информация сайта - «scanpin.ru» Несмотря на то, что устройство получит два отдельных дисплея, Проссер утверждает, что дисплеи смартфона создают впечатление единой панели. Таким образом, складной iPhone больше напоминает по конструкции такие устройства, как Microsoft Surface Neo и Surface Duo, чем Samsung Galaxy Fold, с последующими версиями которого вероятно будет конкурировать. Информация сайта - «scanpin.ru» Пока неизвестно, когда Apple выпустит складной iPhone на рынок. Слухи о его разработке ходят ещё с 2016 года. В марте текущего года компания запатентовала устройство с двумя дисплеями, соединёнными шарниром, которое очень похоже на то, что описал Проссер. И хотя в последнее время подробностей об устройстве становится всё больше, вряд ли Apple представит его в ближайшем будущем.
Новости / Отступы и поля / Изображения / Преимущества стилей / Самоучитель CSS / Видео уроки / Линии и рамки / Текст / Списки / Типы носителей / Вёрстка / Сайтостроение / Ссылки
Компания Intel планирует в следующем году представить обновлённую линейку настольных процессоров Arrow Lake Refresh, которая, вероятно, станет последней для сокета LGA...
Бум искусственного интеллекта позволил основателю Oracle Ларри Эллисону (Larry Ellison) в сентябре этого года на день сместить Илона Маска (Elon Musk) с поста самого...
Realme объявила о старте продаж в России 2 декабря флагманского смартфона Realme GT 8 Pro. Новинка получила камеру с 200-Мп телеобъективом, созданную в партнёрстве с...
Хотя амбициозная тактическая стратегия Heroes of Might & Magic: Olden Era готовится лишь к премьере в раннем доступе, разработчики из кипрской студии с российскими...
Компания Intel планирует в следующем году представить обновлённую линейку настольных процессоров Arrow Lake Refresh, которая, вероятно, станет последней для сокета LGA 1851 перед переходом на новую...
Комментарии (0)