Управление США по патентам и торговым маркам (USPTO) в первых числах текущего месяца выдало компании Samsung патент на очередной смартфон, оснащённый гибким дисплеем.
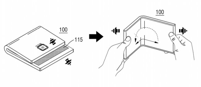
На этот раз речь идёт об аппарате в формате классической «раскладушки», у которого вытянутый по вертикали экран складывается внутрь корпуса. Это защищает панель от повреждений во время повседневной эксплуатации.
При этом имеется любопытная особенность. Устройство может складываться не только посередине, но и со смещением. Во втором случае остаётся видна небольшая часть дисплея: здесь могут отображаться различные уведомления, полезная информация, сообщения и пр.
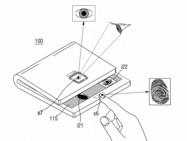
В тыльной части расположена одинарная основная камера. Под экраном могут быть установлены фронтальная камера и (или) дактилоскопический сканер. Таким образом, смартфон сможет осуществлять идентификацию пользователей по изображению лица и отпечаткам пальцев.
Заявка на патент была направлена в марте прошлого года. Не исключено, что смартфон с описанной конструкцией, но некоторыми техническими изменениями, например, с добавлением многомодульной камеры, в перспективе появится в ассортименте южнокорейского гиганта.
Управление США по патентам и торговым маркам (USPTO) в первых числах текущего месяца выдало компании Samsung патент на очередной смартфон, оснащённый гибким дисплеем. На этот раз речь идёт об аппарате в формате классической «раскладушки», у которого вытянутый по вертикали экран складывается внутрь корпуса. Это защищает панель от повреждений во время повседневной эксплуатации. При этом имеется любопытная особенность. Устройство может складываться не только посередине, но и со смещением. Во втором случае остаётся видна небольшая часть дисплея: здесь могут отображаться различные уведомления, полезная информация, сообщения и пр. В тыльной части расположена одинарная основная камера. Под экраном могут быть установлены фронтальная камера и (или) дактилоскопический сканер. Таким образом, смартфон сможет осуществлять идентификацию пользователей по изображению лица и отпечаткам пальцев. Заявка на патент была направлена в марте прошлого года. Не исключено, что смартфон с описанной конструкцией, но некоторыми техническими изменениями, например, с добавлением многомодульной камеры, в перспективе появится в ассортименте южнокорейского гиганта.
Компания Starlink заключила соглашение с немецким телекоммуникационным гигантом Deutsche Telekom по внедрению технологии спутниковой связи на мобильных устройствах в...
Анализ последнего выпуска статистических данных об оборудовании игровых ПК Steam Survey, который Valve ежемесячно проводит для понимания тенденций рынка и определения...
Apple столкнулась с неэффективностью собственной облачной инфраструктуры Private Cloud Compute, предназначенной для обработки ИИ-запросов. Мощность серверов, специально...
Апокалиптические сценарии по порабощению человека искусственным интеллектом, возможно, останутся в фантазиях голливудских сценаристов, но в реальной жизни человеку уже...
Компания Starlink заключила соглашение с немецким телекоммуникационным гигантом Deutsche Telekom по внедрению технологии спутниковой связи на мобильных устройствах в ряде европейских стран. Проект...
Комментарии (0)